SNMA森力玛电机YP-50-1.5-4/1.5KW/380V50HZ/SENLIMA马达










YP变频系列2极型号:
YP-50-0.37-2 YP-50-0.55-2 YP-50-0.75-2 YP-50-1.1-2 YP-50-1.5-2 YP-50-2.2-2
YP-50-3-2 YP-50-4-2 YP-50-5.5-2 YP-50-7.5-2 YP-50-11-2 YP-50-15-2
YP-50-18:5-2 YP-50-22-2 YP-50-30-2 YP-50-37-2 YP-50-45-2
YP变频系列4极型号
YP-50-0.18-4 YP-50-0.25-4 YP-50-0.37-4 YP-50-0.75-4 YP-50-1.5-4 YP-50-2.2-4
YP-50-3.0-4 YP-50-5.5-4 YP-50-7.5-4 YP-50-11-4 YP-50-15-4 YP-50-18.5-4
YP-50-22-4 YP-50-30-4 YP-50-37-4 YP-50-45-4 YP-50-75-4 YP-50-90-4
YP-50-110-4 YP-50-132-4 YP-50-160-4 YP-50-200-4 YP-50-250-4 YP-50-315-4
YP变频系列6极型号
YP-50-0.18-6 YP-50-0.25-6 YP-50-0.37-6 YP-50-0.55-6 YP-50-0.75-6 YP-50-1.5-6
YP-50-2.2-6 YP-50-3.0-6 YP-50-5.5-6 YP-50-7.5-6 YP-50-11-6 YP-50-15-6
YP-50-18.5-6 YP-50-22-6 YP-50-30-6 YP-50-37-6 YP-50-45-6 YP-50-75-6
YP-50-90-6 YP-50-110-6 YP-50-132-6 YP-50-160-6 YP-50-200-6 YP-50-250-6
YP-50-315-6
YP变频系列8极型号
YP-50-0.18-8 YP-50-0.25-8 YP-50-0.37-8 YP-50-0.55-8 YP-50-0.75-8
YP-50-1.5-8 YP-50-2.2-8 YP-50-3.0-8 YP-50-5.5-8 YP-50-7.5-8
YP-50-11-8 YP-50-15-8 YP-50-18.5-8 YP-50-22-8 YP-50-30-8
YP-50-37-8 YP-50-45-8 YP-50-75-8 YP-50-90-8 YP-50-110-8
YP-50-132-8 YP-50-160-8 YP-50-200-8 YP-50-250-8 YP-50-315-8
YPNC系列型号:
YPNC-50-4-A YPNC-50-5.5-A YPNC-50-7.5-A YPNC-50-11-A YPNC-33.3-4-A
YPNC-33.3-5.5-A YPNC-33.3-7.5-A YPNC-33.3-15-A YPNC-50-1.5-B
YPNC-50-2.2-B YPNC-50-3.7-B YPNC-50-5.5-B YPNC-50-11-B
YPNC-50-15-B YPNC-50-18.5-B YPNC-22-50-B YPNC-37-50-B
YPNC-50-45-B YPNC-33.3-1.5-B YPNC-33.3-2.2-B YPNC-33.3-3.7-B
YPNC-50-7.5-B YPNC-33.3-7.5-B YPNC-33.3-11-B YPNC-33.3-15-B
YPNC-50-15-A YPNC-33.3-5.5-B YPNC-18.5-B YPNC-33.3-22-B
插装阀的结构及原理

插装阀又称为逻辑阀,是一种较新型的液压元件,它的特点是通流能力大、密封性能好、动作灵敏、结构简单,因而主要用于流量较大的液压系统或对密封性能要求较高的系统。本文苏州逐利就来总结一下各种插装阀的结构及其原理。
1.插装阀的结构原理及符号
如图1所示,它由控制盖板1、插装单元(由阀套2、弹簧3、阀芯4及密封件组成)、插装块体5和先导元件(置于控制盖板上,图中没有画出)组成。由于这种阀的插装单元在回路中主要起控制通、断作用,故又称为二通插装阀。控制盖板将插装单元封装在插装块体内,并沟通先导阀和插装单元(又称主阀)。通过主阀阀芯的启闭,可对主油路的通断起控制作用。使用不同的先导阀,可构成压力控制、方向控制或流量控制,并可组成复合控制。将若干个不同控制功能的二通插装阀组装在一个或多个插装块体内便组成液压回路。

就工作原理而言,二通插装阀相当于—个液控单向阀。A和B为主油路仅有的两个工作油口(称为二通阀),X为控制油口。改变控制油口的压力,即可控制A、B油口的通断。当控制口无液压作用时,阀芯下部的液压力超过弹簧力,阀芯被顶开,A与B相通,至于液流的方向则视A、B口的压力大小而定。反之,控制口有液压作用,当px≥pA、px≥pB时,才能保证A口与B口之间关闭。这样,就起逻辑元件的“非”门作用,故也称为逻辑阀。
插装阀按控制油的来源可分为两类:第一类为外控式插装阀,控制油由单独动力源供给,其压力与A、B口的压力变化无关,多用于油路的方向控制;第二类为内控式插装阀,控制油引白阀的A或B口,并分为阀芯带阻尼孔与不带阻尼孔两种,应用比较广泛。
2.方向控制插装阀
有单向阀和换向阀两种。
(1)单向插装阀。如图2所示,将X口与A或B连通,即成为单向阀。连通方法不同,其导通方向也不同。前者pA>pB时,锥阀关闭,A与B不通;pB>pA且达到开启压力时,锥阀打开,油从B流向A。后者可类似分析得出结论。
(2)液控单向插装阀。如果在控制盖板上接一个二位三通液动换向阀来变换X口的压力,即成为液控单向阀,如图3所示。若X处无液压作用,则处于图示位置,当pA>pB时,A、B导通,A流向B;当pB>pA时,A、B不通。若K`处有液压作用,则二位三通液控阀换向,使X口接油箱,A与B相通,油的流向视A、B点的压力大小而定。

(3)二位二通插装阀。如图4所示,在图示状态下,锥阀开启,A与B相通。若电磁换向阀通电换向,且pA>pB时,锥阀关闭,A、B油路切断,即为二位二通阀。
(4)二位三通插装阀。如图5所示,在图示状态下,左面的锥阀打开,右面的锥阀关闭,即A、O相通,P、A不通。电磁阀通电时,P、A相通,A、O不通,即为二位三通阀。
(5)二位四通插装阀。如图6所示,在图示状态,左1及右2锥阀打开,实现A、O相通,B、P相通。当电磁阀通电时,左2及右1锥阀打开,实现A、P相通,B、O相通,即为二位四通阀。

(6)三位四通插装阀。如图7所示,在图示状态,4个锥阀全关闭,A、B、P、0不相通。当左边电磁铁通电时,左2及右1锥阀打开,实现A、P相通,B、O相通。当右边电磁铁通电时,左1及右2锥阀打开;实现A、O相通,B、P相通,即为三位四通阀。如果用多个先导阀和多个主阀相配,可构成复杂位通组合的二通插装换向阀,这是普通换向阀做不到的。

3.压力控制插装阀
在插装阀的控制口配上不同的先导压力阀,便可得到各种不同类型的压力控制阀。图8 (a)所示为用直动式溢流阀作为先导阀来控制主阀用做溢流阀的原理图。A腔压力油经阻尼小孔进入控制腔和先导阀,并将B口与油箱相通。这样锥阀的开启压力可由先导阀来调节,其原理与先导式溢流阀相同。如果在图8 (a)中,当B腔不接油箱而接负载时,即为顺序阀。在图8(b)中,若二位二通 电磁换向阀通电,则作为卸荷阀用。
图8 (c)所示为减压阀原理图,主阀芯采用常开的滑阀式阀芯,B为进油口,A为出油口。A腔压力经阻尼小孔后通控制腔和先导阀,其工作原理和普通先导图(见图8)压力控制插装阀式减压阀相同。

此外,若以比例溢流阀作为先导阀代替图中的直动式溢流阀,则可构成二通插装电液溢流阀。
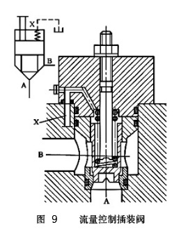
4.流量控制插装阀
如图9所示,在插装阀的控制盖板上增加阀芯行程调节器,以调节阀芯开度,则锥闻可起流量控制阀的作用。若在二通插装节流阀前串联一个定差减压阀,就可组成二通插装调速阀。若用比例电磁铁取代节流阀的手调装置,则可组成二通插装电液比例节流阀。

插装阀产品介绍:国内生产的产品有TJ系列、Z系列、力士乐系列等,这些产品除结构上有所区别外,压力等级均是31.5MPa,通径范围Фl6~Ф160mm。
本文由苏州逐利机电整理发布,如需转载请浏览来源及出处,原文地址:http://www.tw-joly.com/dj/569.html
上一篇:SNMA马达 YP-50-3-2 YP-50-1.5-4电机 YPEJ-50-0.55-4 YP-50-11-4






留言信息