雅歌ARGO-HYTOS电磁换向阀RPE3-062X11/M20500E1抓斗机专用液压阀






RPE3- 063Y11/02400E1,RPE3- 063Z11/02400E1
RPE3- 062R11/02400E1,RPE3- 062X11/02400E1
RPE3- 063Y11/02700E1,RPE3-063H11 交流110V
RPE3- 063H11/02400E1,RPE3- 063Y11/01200E1
RPE3- 063Z11/01200E1,RPE3-062R11/02300E1
RPE3-063H11/01200E1,RPE3- 063Y11/02400E1-A
RPE3-063C11/02400E1K1/M,RPE3-062R11/23050E5-A
RPE3-063H11/23050E5,RPE3-063C11/01200E1
RPE3- 063Z11/02400E1-A,RPE3-063Z11/02400E1
RPEW4-063Z11/02400EW1K50,RPE3-062Y51/02400E1K1
RPE3-062Z11/02400E1,RPE3- 063Y11/23000E1
RPE3-062X11/20500E1,RPE3-062X11/20500E1带防水线
RPE3-062R11/02400E1,RPE3-062X11/02400E1
RPE3-062X11/02400E1K1,RPE3-063Y11/02400E1
16211500-C22B-20500E1-线圈,RPE3-063Y11/02400E1T1V
RPE3-042R91/02400E1,RPE3-063C11/02400E1
RPE3-062X11/01200E1,RPE3-063H11/02400E1
RPE3-062R11/01200E1,RPE3-062Z51/02700E1
205V线圈配2米防水插头线,RPE3-062H51/02400E1T1-A
RPE3-063Z11/01200E1,RPE3-062X11/02700E1-A
RPE3-062R11/20500E1,RPE3-062R21/01200E1
RPE3-062R21/02400E1,RPE3-062R21/20500E1
RPE3-062Z11/01200E1,RPE3-062Z11/20500E1
RPE3-062A51/02400E1,RPE3-062A51/20500E1
RPE3-062Z51/02400E1,RPE3-062H51/02400E1
RPE3-062H51/20500E1
液压系统油管管接头的种类
液压系统中少不了管接头,因为管接头是油管与油管、油管与液压元件之间的可拆卸连接。它应满足连接牢固,密封可靠,液阻小,结构紧凑,拆装方便等要求。
管接头的形式很多,按接头的通路方向,有直通、直角、三通、四通、铰接等形式;按其与油管连接方式分,有管端扩口式、卡套式、焊接式、扣压式等。管接头与机体的连接常用圆锥螺纹和普通细牙螺纹。用圆锥螺纹连接时,应外加防漏填料;用普通细牙螺纹连接时,应采用组合密封垫(熟铝合金与耐油橡胶组合),且应在被连接件上加工出一个小平面。

1.管端扩口式菅接头
管端扩口式管接头工作原理如图2-1所示,它适合于铜管和薄壁钢管之间的连接。接管2先扩成喇叭口(约74°~90°),再用接头螺母3把导套4连同接管2一起压紧在接头体l上形成密封。装配时的拧紧力通过接头螺母3转换成轴向压紧力,由导套4传递给接管的管口部分,使扩口锥面与接头体1密封锥面之间获得接触比压。在起刚性密封作用的同时,也起到连接作用,并承受由管内流体压力所产生的接头体与接管之间的轴向分力。这种管接头的最高压力一般小于16MPa。

2.卡套武管接头
如图2-2所示,卡套式管接头的基本结构由接头体1、卡套4和螺母3这3个基本零件组成。卡套是一个在内圆端部带有锋利刃口的金属环,装配时因刃口切人被连接的油管而起到连接和密封的作用。
装配时首先把螺母3和卡套4套在接管2上,然后把油管插入接头体1的内孔(靠紧),把卡套安装在接头体内锥孔与油管中的间隙内,再把螺母3旋紧在接头体1上,旋至螺母90°卡套尾的86°锥面充分接触为止。在用扳手紧固螺母之前,务必使被连接的油管端面与接头体止推面相接触,然后一面旋紧螺母一面用手转动油管,当油管不能转动时,表明卡套在螺母推动和接头锥面的挤压下已开始卡住油管,继续旋紧螺母1-4/3圈,使卡套的刃口切人油管,形成卡套与油管之间的密封,卡套前端外表面与接头体内锥面间所形成的球面接触密封为另一密封面。
卡套式管接头所用油管外径一般不超过42mm,使用压力可达40MPa,工作可靠,拆装方便,但对卡套的制造工艺要求较高。

3. 焊接式管接头
如图2-3所示,焊接管接头是将管子的一端与管接头上的接管2焊接起来后,再通过管接头上的螺母3、接头体1等与其他管子式元件连接起来的一类管接头。接头体1与接管2之间的密封可采用图7 4所示的O形密封圈4来密封。除此之外,还可采用球面压紧的方法或加金属密封垫圈的方法加以密封。管接头也可用图2-4(a)所示的球面压紧,或加金属密封圈4,用图2-4(b)所示的方法来密封。后两种密封方法承压能力较低,球面密封的接头加工较困难。接头体与元件连接处,可采用图5所示的圆锥螺纹,也可采用细牙圆柱螺纹(如图4所示),并加组合密封垫圈5防漏。
焊接式钢管接头结构简单,制造方便,耐高压(32MPa),密封性能好。缺点是对钢管与接管的焊接质量要求较高。

4.软管接头
软管接头一般与钢丝编织的高压橡胶软管配合使用,它分可拆式和扣压式两种。图2-5所示为可拆式软管接头。它主要由接头螺母1、接头体2、外套3和胶管4组成。胶管夹在两者之间,拧紧后,连接部分胶管被压缩,从而达到连接和密封的作用。扣压式软管接头如图2--6所示。它由接头螺母1、接头芯2、接头套3和胶管4构成。装配前先剥去胶管上的一层外胶,然后把接头套套在剥去外胶的胶管上再插入接头芯,然后将接头套在压床上用压模进行挤压收缩,使接头套内锥面上的环形齿嵌入钢丝层达到牢固的连接,也使接头芯外锥面与胶管内胶层压紧而达到密封的目的。
注意,软管接头的规格是以软管内径为依据的,金属管接头则是以金属管外径为依据的。

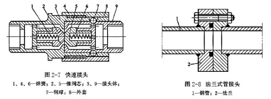
5.快速接头
快速接头是一种不需要任何工具,能实现迅速连接或断开的油管接头,适用于需要经常拆卸的液压管路。图2-7所示为快速接头的结构示意图。图中各零件位置为油路接通时的位置。它有两个接头体3和9,接头体两端分别与管道连接。外套8把接头体3上的3个或8个钢球7压落在接头体9上的V形槽中,使两接头体连接起来。锥阀芯2和5互相挤紧顶开使油路接通。当需要断开油路时,可用力将外套8向左推移,同时拉出接头体9,此时弹簧4使外套8回位。锥阀芯2和5分别在各自弹簧1和6的作用下外伸,顶在接头体3和9的阀座上而关闭油路,并使两边管子内的油封闭在管中,不致流出。

6.法兰式管接头
法兰式管接头是把钢管1焊接在法兰2上,再用螺钉连接起来,两法兰之间用O形密封圈密封,如图2-8所示。这种管接头结构坚固,工作可靠,防振性好;但外形尺寸较大,适用于高压、大流量管路。
本文由苏州逐利机电整理发布,如需转载请浏览来源及出处,原文地址:http://www.tw-joly.com/yyf/451.html






留言信息