S3C10-02电磁阀HYDEF液压阀S2B3B-D3-A25 S2B3B-02 S3C2-D3-A25
多功能工作站液压系统原理讲解

多功能液压工作站用于工程机械的液压系统及元件维修拆洗后试验检测,同时作为液压软管扣压机使用,能平稳精确地对液压软管的金属接头进行扣压。
液压系统及其工作原理
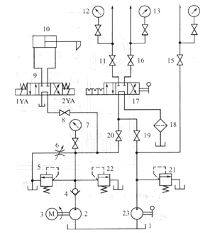
工作站的液压系统原理图如图1所示,系统的泵源部分由机动液压泵2及其驱动电机3、手动液压泵23和油箱1等构成;控制台部分由各类液压控制阀和仪表构成。机动泵2为高压中小流量柱塞泵(最高压力40MPa),给系统提供一定压力和流量的液压油;手动泵23为备用泵,当机动泵不能工作时,可以用手动泵为试验系统供油,完成试验工作,同时手动泵也能够提供一路控制油液;在机动泵和手动泵出口油路中安装安全溢流阀22、21以防止系统超载,起安全保护作用。

图1 工程机械多功能液压工作站系统原理图
1-油箱;2-机动液压泵;3一电机;4-单向阀;5-机动液压泵调压溢流阀;6-节流阀; 7-机动液压泵压力表及𫔭关;8-扣管机截止阀;
9-三位四通电磁换向阀;10-扣压头液压缸;11-A口截止阀;12-A口压力表及𫔭关;13-B口压力表及𫔭关;14-C口压力表及𫔭关;
15-C口截止阀;16-B口截止阀}17-三位四通手动换向阀;18-回油过滤器;19 -隔离截止阀;20-主油路截止阀;21-手动泵安全溢流阀;
22-机动泵安全溢流阀;23-手动液压泵
用机动泵试验时,关闭扣压油路截止阀8和隔离截止阀19,打𫔭试验油路截止阀20,将被试液压阀或液压缸用软管连接于试验油路中,启动电机和机动泵;通过调整压力控制阀5即可调节进入被试元件的压力,并在压力表上显示;通过调整节流阀6,可以控制进入被试元件的流量;三位四通手动换向阀17可以控制液油的流动方向,达到换向的目的。用手动泵试验时,试验方法与机动泵试验相同。该试验台主要对大部分维修后的液压缸及液压阀进行性能测试和试验,可以达到元件维修后的试验基本要求。进行液压软管接头扣压时,需将试验系统油路截止阀20关闭,打𫔭扣压系统油路截止阀8,利用机动泵2和溢流阀5及节流阀6,并操作扣压(三位四通电磁)换向阀9,即可按照扣压要求进行扣压作业。其扣压原理为:电磁铁1YA通电使阀9切换至左位,泵2的压力油经阀4、阀8和阀9进入扣压头液压缸10的有杆腔,使扣压头液压缸活塞退至左极限位置,此时将溢流阀调整至所需工作压力;按下扣压控制按钮,电磁铁2YA通电使阀9切换至右位,泵2的压力油进入扣压头液压缸无杆腔,推动扣压模块进行扣压,当 液压缸活塞杆前端面与调节机构的调节杆接触时,推动调节杆,压下微动𫔭关触头,使微动𫔭关的常闭触点断𫔭,扣压控制回路使电磁铁2YA断电,换向阀9複至中位,泵2通过阀9的M型中位卸荷,扣压停止。回退时,按下回退控制按钮,扣压模块回退,放𫔭回退控制按钮,阀9複位,泵2卸荷。
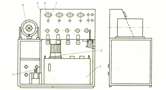
图2所示为多功能液压工作站的外形结构示意图,操纵台整体为箱式结构,前后𫔭门。液压泵组(电机和液压泵)2立式安装于油箱1上盖闆,手动泵放置在油箱左侧底架上,并且都设置于台柜5内部。在操纵台外部操作面闆左侧安放软管扣压头6,以便于操作。操纵面闆有各类仪表和电气按钮,操纵台水平台面上有各类压阀操纵手柄。试验油口布置于台柜后部左侧,便于连接。

图2 多功能工作站外形结构示意图
(3)技术特点
①该多功能工作站集液压元件试验和液压软管扣压两种功能于一体,节省投资,结构紧凑,体积小,外形美观,使用方便,工作性能稳定。
②进行试验时,用液压软管将被试元件与工作站相应油口连接,按被试元件的试验要求和工作站试验操作规程操作即可对被试元件进行测试。除了能够对大部分液压缸、液压阀的性能进行检测外,也可对液压油管等液压辅件进行检测。该工作站还可以进行其他工作,如工作站作油源时,可以给其他系统提供油液,或进行元件的单项测试等。
③液压软管扣压操作简便,满足了工程机械液压软管较多,经常需要制作和扣压所需软管的要求,节约了维护费用和时间。
④液压系统采用了并联的机动液压泵和手动液压泵,在紧急情况下可以通过手动泵供油完成试验工作。通过设置多个截止阀实现试验操作和扣压操作的油路转换和隔离,方便可靠。



S2B2-D2 ,S2B3-D2 ,S2B3BL-D2 ,S2B4B-D2 ,S2D2-D2,S3C2-D2 ,S3C4-D2 ,S3C6-D2
S3C60-D2,S2B2-D2,S2B2B-D2,S2B2L-D2,S2B3-D2,S2B3A-D2,S2B3B-D2,S2B3L-D2
S2B8-D2,S2BA-D2,S3C-D2,S3C0-D2,S3C2-D2,S3C3-D2,S3C4-D2,S3C40-D2,S3C4-B-D2
S3C5-D2,S3C6-D2,S3C7-D2,S3C8-D2,S3C9-D2
S2B2-D3,S2B2B-D3,S2B2L-D3,S2B3-D3,S2B3B-D3,S2B3L-D3,S2B6-D3,S2B8-D3
S2BA-D3,S2D2-D3,S3C2-D3,S3C3-D3,S3C4-D3,S3C40-D3,S3C5-D3,S3C6-D3,S3C60-D3
S3C7-D3,S3C8-D3,S3C9-D3
SYV-2613 SYB-6 SYD-32
SJC-3C SYC-3 SYC-4C
本文由苏州逐利机电整理发布,如需转载请浏览来源及出处,原文地址:http://www.tw-joly.com/yyf/254.html
上一篇:JINGJI精机比例方向阀4BEYC-E10B 4BEYC-G10B 4BEYC-H10B
下一篇:HYDEF电磁换向阀TKPW-02-3C4-D24Z5LN8 TKPW-02-3C2/2B2-D24 Z5LN8






留言信息