CEMA变频调速电机YP/YPEJ-50-0.75-2-4先马电机YA-0.75










YP变频系列2极型号:
YP-50-0.37-2 YP-50-0.55-2 YP-50-0.75-2 YP-50-1.1-2 YP-50-1.5-2 YP-50-2.2-2
YP-50-3-2 YP-50-4-2 YP-50-5.5-2 YP-50-7.5-2 YP-50-11-2 YP-50-15-2
YP-50-18:5-2 YP-50-22-2 YP-50-30-2 YP-50-37-2 YP-50-45-2
YP变频系列4极型号
YP-50-0.18-4 YP-50-0.25-4 YP-50-0.37-4 YP-50-0.75-4 YP-50-1.5-4 YP-50-2.2-4
YP-50-3.0-4 YP-50-5.5-4 YP-50-7.5-4 YP-50-11-4 YP-50-15-4 YP-50-18.5-4
YP-50-22-4 YP-50-30-4 YP-50-37-4 YP-50-45-4 YP-50-75-4 YP-50-90-4
YP-50-110-4 YP-50-132-4 YP-50-160-4 YP-50-200-4 YP-50-250-4 YP-50-315-4
YP变频系列6极型号
YP-50-0.18-6 YP-50-0.25-6 YP-50-0.37-6 YP-50-0.55-6 YP-50-0.75-6 YP-50-1.5-6
YP-50-2.2-6 YP-50-3.0-6 YP-50-5.5-6 YP-50-7.5-6 YP-50-11-6 YP-50-15-6
YP-50-18.5-6 YP-50-22-6 YP-50-30-6 YP-50-37-6 YP-50-45-6 YP-50-75-6
YP-50-90-6 YP-50-110-6 YP-50-132-6 YP-50-160-6 YP-50-200-6 YP-50-250-6
YP-50-315-6
YP变频系列8极型号
YP-50-0.18-8 YP-50-0.25-8 YP-50-0.37-8 YP-50-0.55-8 YP-50-0.75-8
YP-50-1.5-8 YP-50-2.2-8 YP-50-3.0-8 YP-50-5.5-8 YP-50-7.5-8
YP-50-11-8 YP-50-15-8 YP-50-18.5-8 YP-50-22-8 YP-50-30-8
YP-50-37-8 YP-50-45-8 YP-50-75-8 YP-50-90-8 YP-50-110-8
YP-50-132-8 YP-50-160-8 YP-50-200-8 YP-50-250-8 YP-50-315-8
YPNC系列型号:
YPNC-50-4-A YPNC-50-5.5-A YPNC-50-7.5-A YPNC-50-11-A YPNC-33.3-4-A
YPNC-33.3-5.5-A YPNC-33.3-7.5-A YPNC-33.3-15-A YPNC-50-1.5-B
YPNC-50-2.2-B YPNC-50-3.7-B YPNC-50-5.5-B YPNC-50-11-B
YPNC-50-15-B YPNC-50-18.5-B YPNC-22-50-B YPNC-37-50-B
YPNC-50-45-B YPNC-33.3-1.5-B YPNC-33.3-2.2-B YPNC-33.3-3.7-B
YPNC-50-7.5-B YPNC-33.3-7.5-B YPNC-33.3-11-B YPNC-33.3-15-B
YPNC-50-15-A YPNC-33.3-5.5-B YPNC-18.5-B YPNC-33.3-22-B
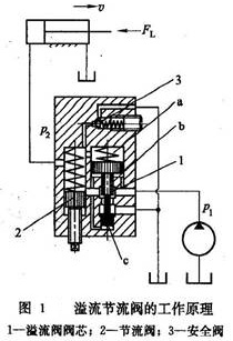
溢流节流阀工作原理及其与调速阀的区别

1.溢流节流阀工作原理
溢流节流阀和调速阀一样,也能保证通过阀的流量基本上不受负载变化的影响。溢流节流阀是由压差式溢流阀和节流阀并联而成的。
图1所示为溢流节流阀的工作原理。来自液压泵压力为p1的油液,进入阀后,一部分经节流阀2(压力降为p2)进入执行元件(液压缸),另一部分经溢流阀阀芯1的溢油口流回油箱。溢流阀阀芯上腔a和节流阀出口相通,压力为p2;溢流阀阀芯大台肩下面的油腔b、油腔c和节流阀入口的油液相通,压力为p1。当负载FL增大时,出口压力p2增大,因而溢流阀阀芯上腔a的压力增大,阀芯下移,关小溢流口,使节流阀入口压力p1增大,因而节流阀前后压差 (p 1-p2)基本保持不变;反之亦然。
溢流节流阀上设有安全阀3。当出口压力p2增大到等于安全阀的调整压力时,安全阀打开,使p2(因而也使用p1)不再升高,防止系统过载。

2.溢流节流阀与调速阀的区别
溢流节流阀与调速阀都有压力补偿作用,使输出的流量不随负载而变化。液压系统用溢流节流阀调速时,液压泵的供油压力是随负载而变化的,负载小时供油压力也低,因此功率损失较小;但是该阀通过的流量是液压泵的全部流量,故阀芯的尺寸要取得大一些,又由于阀芯运动时的阻力也较大,因此它的弹簧一般比调速阀的减压阀部分的弹簧刚度要太。这使得它的节流口前后的压力差值不如调速阀稳定,所以流量稳定性不如调速阀。溢流节流阀适用于对速度稳定性要求稍低一些,而功率较大的节流调速系统中,如插床、拉床、刨床中应用较多。
液压系统中使用调速阀调速时,系统的工作压力由溢流阀根据系统工作压力调定,基本保持恒定,即使负载较小时,液压泵也按此压力工作,因此功率损失较大;但该阀中的减压阀所调定的压力差值(△p)波动较小,流量稳定性好,因此适用于对速度稳定性要求较高,而功率又不太大的节流调速回路中。
另外,在使用中,大兰液压厂家提醒大家溢流节流阀只能安装在节流调速回路的进油路上,而调速阀在节流调速回路的进油路、回油路和旁油路上都可应用。因此,调速阀比溢流节流阀应用广泛。
本文由苏州逐利机电整理发布,如需转载请浏览来源及出处,原文地址:http://www.tw-joly.com/dj/515.html






留言信息